本文笔者结合《专利保护攻防实战手册》中的相关案例,以及近期国内外专利诉讼实践活动,反观专利撰写中应该关注的重要事项并形成撰写规范,在专利撰写中加以应用,以期提升专利文件品质,更好的适用于潜在的专利诉讼。
通过专利诉讼,能够有效检验涉案专利的权利稳定性和保护范围的合理性,是检验涉案专利是否属于高质量专利的重要途径。
笔者结合《专利保护攻防实战手册》[1](简称手册)中的相关案例,以及近期国内外专利诉讼实践活动,反观专利撰写中应该关注的重要事项并形成撰写规范,在专利撰写中加以应用,以期提升专利文件品质,更好的适用于潜在的专利诉讼。
一、文字使用的准确性

对此,专利撰写对应的撰写规范如下:
要点 | 说明 |
字词 | (1)避免错别字;(2)避免模糊词;(3)图文中标号的使用规则;(4)数值范围注意事项;(5)专业术语的应用要求;(6)上位概括的方式;(7)技术特征的分类分层次;(8)技术特征的命名规则;(9)主题名称的命名特点 |
句式 | (1)优选开放句;(2)避免歧义句;(3)优选使用短句;(4)减少和避免在产品权利要求中使用方法语句;(5)说明书中对专业术语、功能性技术特征的解释句;(6)说明书中包括与从属权利要求对应的技术问题和有益效果的描述;(7)避免口语描述 |
功能特征 | 保护范围受说明书的具体实施例限制 |
环境特征 | 说明书中对环境特征的含义进行解释 |

对此,在专利撰写中对应的规范如下:
要点 | 说明 |
前置检索 | (1)基于交底材料,进行精准检索;(2)以潜在竞争对手为对象进行检索;(3)在技术难度不高时,进行扩展检索;(4)根据市场热度,确定在近期范围内检索 |
保护范围 | (1)基于检索分析,确定独立权利要求的技术方案具有新颖性;(2)基于明显创造性审查原则,确定独立权利要求的必要技术特征;(3)基于解决的技术问题,对应布局从属权利要求 |
修改方式 | 在权利要求数量受限时,排序靠前的权利要求保护范围稍大,在排序靠后的从属权利要求中可以多布设技术特征,无效程序中可选择用于补充到前面的权利要求中 |
三、专利维权的便捷性

对此,在专利撰写中对应的规范包括:
要点 | 说明 |
技术特征 | (1)专业术语的特定含义;(2)功能性特征和环境特征的保护范围要清楚;(3)产品权利要求中的避免和减少方法特征;(4)方法权利要求中对步骤顺序的考量 |
单侧撰写 | (1)确定执行主体;(2)技术方案的完整性考虑;(3)同时包括单侧和多侧独权 |
多个独权 | (1)从改进的最小单元为基础,多层次布局产品、系统等保护主题;(2)同时包括产品独权和产品制造、使用方法独权 |
在专利文件中,附图显示既可以是整体图和局部图,也可以是组合图和爆炸图,还可以是多角度的方位视图,以及流程图、原理图、时序图等。专利文件中附图的多样性需要撰写人进行合理选择和使用,以期在专利诉讼中能够更有利于解释权利要求和侵权比对。
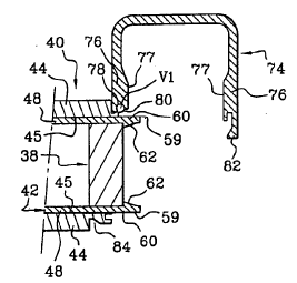
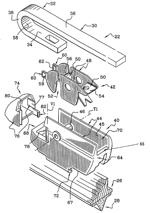
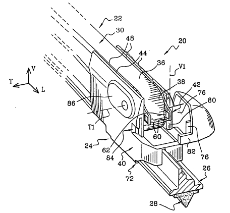
2019年“法国瓦莱奥清洗系统公司诉福建厦门卢卡斯汽车配件有限公司等侵害发明专利权纠纷案”。
该案是最高人民法院知识产权法庭成立后开庭审理的第一案,涉案专利是“机动车辆的刮水器的连接器及相应的连接装置”(CN200610160549.2),该案件争议焦点刮水器臂与刮水器刷体部件之间存在连接关系还是铰接关系、三种型号的被诉侵权产品的弹性元件将连接器是定位还是锁定在刮水器臂的前端部中的嵌入位置等问题。
该案在一审和二审中均判决侵权成立,涉案专利的附图如下所示,包括立体图、爆炸图、剖视图、前视图、后视图等,同时还呈现搭扣关闭和开放的两种位置状态,对技术特征的呈现具体明确、支持力度强,形成图文一致、图文互补的最佳效果。
《手册》在“本田技研工业株式会社与石家庄双环汽车股份有限公司等侵害外观设计专利权纠纷案”的案例中指出:
一审法院判定被诉侵权产品不落入涉案专利保护范围,不构成侵权。本田株式会社不服该判决,上诉至最高人民法院。最高人民法院总结该案的争议焦点在于,侵权比对对象是否错误。
外观设计专利侵权判断采用的整体观察,综合判断的标准,也是指在产品正常使用状态下的可视整体外观,不应当将产品整体予以拆分、改变原使用状态后,对产品的部分外观设计进行对比。在进行外观设计专利侵权认定的对比时,应当将实际生产销售的汽车产品的整体作为比对对象,不应当将行李架横杆、导流板及前、后保险杠护板等设计特征进行拆除分解后再进行比对。
《手册》对该案例的提示指出:知识产权部门应于产品设计部、市场部门充分沟通,预判同一设计风格的产品在产业链上下游流通环节的呈现形成;预判竞争对手所有可能使用的设计形式;预判产品在各种不同使用场景下的使用状态;预判产品零部件在市场流通环节的呈现形式。根据以上预判情况,全面布局外观专利申请,以确保全面性、有攻击性的保护范围。
外观设计专利是以视图呈现产品,产品的种类和组合模式的多样性,决定了外观设计视图呈现的多样性,需要根据以上预判情况合理布局。另外,2022年5月,我国加入《海牙协定》,要注意一件国际申请可包括两件或多件工业品外观设计[7],即多项性,这与国内对外观设计申请的单一性要求有明显差异,在涉外申请实务中应当引起重视。
对此,在专利撰写中对应的规范包括:
要点 | 说明 |
图示类型 | 立体图;投影图;平面剖视图;立体剖视图;爆炸图;原理图;框图;电路图;曲线图;时序图;流程图;图表 |
图示应用 | (1)不同技术领域的图示应用;(2)多视角的图示应用;(3)多状态的图示应用;(4)多个产品的外观设计图;(5)市场销售的外观设计图 |
以上从四个方面介绍了专利诉讼实践对高质量专利文件撰写的启示。可以看出,提高专利文件的品质对于合理确定权利保护范围、提高专利授权率、增强权利稳定性、便于取证和侵权比对等,具有重要作用,需要在实践中不断丰富完善专利撰写规范并加以应用。
参考文献:
1.丁建春,张丽,专利保护攻防实战手册.北京:法律出版社,2020.
2.黄莺, 美国联邦巡回上诉法院裁定自动驾驶激光雷达的“鼻祖”558号专利有效.企业专利观察,2022.
3.国家知识产权局专利局复审和无效审查部,第55650号无效宣告请求审查决定书,2022.
4.国家知识产权局专利局复审和无效审查部,第55689号无效宣告请求审查决定书,2022.
5.最高人民法院第159号指导案例,2021
6.最高人民法院第115号指导案例,2019
7.曹新明,杨绪东,我国加入《海牙协定》对外观设计保护的影响, 知识产权,2022
来源:IPRdaily中文网