2021年6月1日,我国经过第四次修订的《专利法》正式实施,该次修订从立法层面加强了对权利人合法权益的保护,比如对故意侵犯专利权且情节严重的,可以判定侵权人向权利人支付惩罚性赔偿。
专利侵权事实的判定一般遵循三个步骤:1、确定权利要求的保护范围;2、确定被诉侵权的技术方案包含了哪些技术特征;3、基于全面覆盖原则、相同/等同替代原则及多余指定原则,将权利要求与被诉侵权的技术方案进行特征的逐一比对,判定被诉侵权的技术方案是否落入权利要求保护范围。
全面覆盖原则是专利侵权判定的基本原则,等同原则是全面覆盖原则下,对权利要求保护范围的扩充,以在专利侵权纠纷中更加恰当的保护权利人的合法权益。
等同原则于2001年正式纳入专利制度。2001年《最高人民法院关于审理侵犯专利权纠纷案件适用法律问题的若干规定》第十七条,专利法第五十九条第一款所称的“发明或者实用新型专利权的保护范围以其权利要求的内容为准,说明书及附图可以用于解释权利要求的内容”,是指专利权的保护范围应当以权利要求记载的全部技术特征所确定的范围为准,也包括与该技术特征相等同的特征所确定的范围。
等同特征,是指与所记载的技术特征以基本相同的手段,实现基本相同的功能,达到基本相同的效果,并且本领域普通技术人员在被诉侵权行为发生时无需经过创造性劳动就能够联想到的特征。
即,当侵权行为发生且被诉侵权的产品或技术方案与专利权利保护的方案出现技术特征不一致的情况时,需要基于等同原则,将被控侵权产品和技术特征与专利权利要求书记载的特征进行逐一比对,看二者是否构成技术手段等同(基本相同)、技术功能等同(基本相同)、技术效果等同(基本相同)。
《最高人民法院关于审理侵犯专利权纠纷案件应用法律若干问题的解释》(法释(2009)21号)(以下简称解释(一))第七条规定:人民法院判定被诉侵权技术方案是否落入专利权的保护范围,应当审查权利人主张的权利要求所记载的全部技术特征。当被诉侵权技术方案包含与权利要求记载的全部技术特征相同或者等同的技术特征的,人民法院应当认定其落入专利权的保护范围;缺少权利要求记载的一个以上的技术特征,或者有一个以上技术特征不相同也不等同的,人民法院应当认定其没有落入专利权的保护范围。也就是当侵权行为满足第7条所述的第一款情形时构成侵权,符合第二款情形时,不构成侵权。
结合最高人民法院的判例,对其适用标准和边界进行解释,以帮助理解。
基本案情:
武某与深圳某公司之间侵害实用新型专利权纠纷。上诉人武某某持有专利号为201420779301.4、名称为“一种加装保护电路的圆柱形锂电池”的实用新型专利的专利权,涉案专利包含9项权利要求,武某某请求保护权利要求3。
权利要求1:一种加装保护电路的圆柱形锂电池,其特征在于:包括圆柱形电芯(8)、与电芯(8)电连接的圆形保护电路板(3)及支撑保护电路板(3)的圆柱环(5),所述保护电路板(3)设有电路元件的一面朝向电芯(8)一端面且设在圆柱环(5)的端面上,所述圆柱环(5)的内径小于保护电路板(3)的直径,所述圆柱环(5)的高度为使保护电路板(3)的电路元件悬于电芯(8)一端面之上。
权利要求2:如权利要求1所述的加装保护电路的圆柱形锂电池,其特征在于:所述的保护电路板(3)设有电路元件的一面通过五金弹片(4)与电芯(8)一端面相连。
权利要求3:如权利要求1或2所述的加装保护电路的圆柱形锂电池,其特征在于:还包括正极帽(1)、圆形五金盖帽(7)、设于电芯(8)负极的负极五金圆片(9),所述保护电路板(3)设有电路元件的一面朝向电芯(8)的正极,另一面与正极帽(1)相连,作为正极输出端,所述的保护电路板(3)设在圆形五金帽盖(7)内,并通过圆形五金帽盖(7)与电芯(8)负极相连。

武某某认为,被诉侵权技术方案具有涉案专利的技术特征“所述保护电路板(3)设有电路元件的一面朝向电芯(8)一端面且设在圆柱环(5)的端面上”。
深圳市某科技有限公司称:被诉侵权技术方案未落入涉案专利权利要求3的保护范围,不构成侵权。涉案专利的技术特征“圆柱环”的形状仅限圆柱环,不包括也不等同于由基板、支撑壁和连接突起构成的支撑结构。被诉侵权技术方案采用的是支撑架而非圆柱环,二者不同。涉案专利限定了“保护电路板(3)设有电路元件的一面朝向电芯(8)”,被诉侵权技术方案的电器元件分布在电路板的上下两面,进而二者的作用和效果也不同,故二者既不相同也不等同。
一审法院认为:被诉侵权技术方案的相关技术特征是电路板的两面设有电路元件,只有其中一面朝向电芯,另一面并未朝向电芯,由于对电路板的一面还是两面设有电路元件,以及所设电路元件是否朝向电芯的设置仅有十分有限的几种组合情况,权利人在申请专利、撰写权利要求时在可以显而易见预见全部该几种组合的情况下,仅明确选择了其中一种情况,这意味着权利人排除了将其他技术方案纳入保护范围,在侵权诉讼中不宜再将其他情况纳入保护范围。被诉侵权技术方案的部分技术特征与涉案专利权利要求3的部分技术特征既不相同也不等同,被诉侵权技术方案未落入涉案专利权利要求3的保护范围。
上诉人就一审判决向最高人民法院知识产权法庭提出上诉,请求判定被上诉人侵权。
双方当事人二审庭审中均认可本案二审争议的技术特征为“所述保护电路板(3)设有电路元件的一面朝向电芯(8)一端面且设在圆柱环(5)的端面上”,被诉侵权技术方案的保护电路板两面均设有电路元件,且仅有一面朝向电芯,设有电路元件的保护电路板的另一面未朝向电芯。
最高人民法院二审查明:
涉案专利说明书记载:“本实用新型的有益效果是:一方面,将朝向圆柱形电芯一端面的保护电路板通过圆柱环支撑并使保护电路板的电路元件悬于圆柱形电芯一端面之上,避免保护电路板或者电芯由于外力作用,导致保护电路板的电路元件与电芯正极直接接触而变形,以保障电路板……的安全性。”
二审的争议焦点问题是:被诉侵权技术方案是否落入涉案专利权的保护范围。争议的技术特征主要为被诉侵权技术方案是否具有涉案专利的技术特征“所述保护电路板(3)设有电路元件的一面朝向电芯(8)一端面且设在圆柱环(5)的端面上”。
二审认为:根据权利要求的上述表述,结合涉案专利说明书有益效果的内容,该争议的技术特征可明确为电路元件均设置在保护电路板的同一面上,且该面朝向电芯,保护电路板的另一面是不设置电路元件的,进而结合有高度的圆柱环及金属弹片的设置,使电路元件均位于通过圆柱环支撑的空间内,并悬于电芯一端面之上。而被诉侵权技术方案在电路板两面均设置了电路元件,仅有一面朝向电芯,故二者结构不同。
而且,在有外力作用时,未朝向电芯的一面的电路元件不能得到与电路板上朝向电芯一面的电路元件同样的保护,存在与电芯正极直接接触而变形的风险,也无法实现散热性较好的效果,故被诉侵权技术方案与涉案专利就争议的技术特征作用和效果亦不同。
关于武某某所认为的被诉侵权技术方案保护电路板两面均设置电路元件的设置方式与涉案专利构成等同,但该种设置方式是所属技术领域的技术人员在涉案专利权利要求1撰写时能够预见的,却并没有被写入权利要求中,故可以认定包含该技术特征的技术方案视为已经被武某某在申请涉案专利时放弃,也就不得再以技术特征等同为由,扩展涉案专利权的保护范围,故被诉侵权技术方案不具有上述诉争的技术特征。
综上,高院认为,被诉侵权技术方案与涉案专利权利要求1、3记载的全部技术特征相比,至少有一个技术特征不相同也不等同,未落入涉案专利权的保护范围,故不构成侵权。
本案为我们带来的重要启示在于,等同原则的适用离不开权利要求的保护范围的解释。如果专利说明书、附图等申请文件中,对权利要求主张的保护范围没有合理的解释和扩充,没有记载本领域普通技术人员明显可以预见的变形实施方式,以及不同于权利要求文字表述的在技术功能效果上等同于权利要求特征的等同技术特征,那么在侵权案件中将被视为权利人在申请专利时主动放弃了该部分权利。
可见无论专利申请授权、确权过程中,还是专利侵权纠纷中,无论行政程序中,还是司法程序中,权利要求的解释和支持是非常重要的。这给专利文本的内容构建带来非常高的要求。
其次,三个基本相同+非显而易见的判定规则在本案得到充分体现。只有当被诉侵权产品的技术特征(结构)基本相同,特征的功能和效果基本相同时,才可认定被诉产品构成对专利技术的等同侵权。
基本案情:
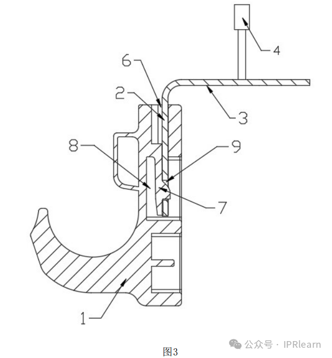
四川某科技有限公司与福建某科技公司之间侵害实用新型专利权纠纷。上诉人四川某科技公司持有专利号为“20192208412.0”号、名称为“一种不占用铁路电缆槽底部空间的弯角固定电缆隔离支架”的实用新型专利权。该专利共计10项权利要求,权利人请求以涉案专利权利要求1、3作为保护范围,其具体内容如下:
1.一种不占用铁路电缆槽底部空间的弯角固定电缆隔离支架,其特征在于:包括固定相连的线缆挂钩(1)和挂钩连接片(2),所述挂钩连接片(2)上翻折设置有与电缆槽顶面贴合的固定片(3),固定片(3)上设置有将其与电缆槽固定连接的紧固装置(4)。
3.根据权利要求1所述的一种不占用铁路电缆槽底部空间的弯角固定电缆隔离支架,其特征在于:所述挂钩连接片(2)为L形,挂钩连接片(2)的一端向外翻折设置有固定片(3)。
本专利说明书记载了如下内容:
“[0023]3、本实用新型的挂钩连接片为L形,挂钩连接片与固定片连接后构成Z形……。
[0049]……所述固定片3上还设置有紧固装置4,其中紧固装置4采用射钉枪钉……。
[0067]……其中挂钩连接片为L形金属片,其一端向外翻折设置有固定片3,固定片3与L形的挂钩连接片2共同连接成Z字形,所述L形挂钩连接片2的竖直面和水平面上均固定连接有线缆挂钩1……”。



被诉侵权产品具有以下技术特征:一种电缆防护隔离组件,包括线缆挂钩、挂钩连接件和射钉,线缆挂钩和挂钩连接件的连接片部分可通过卡扣扣合固定,挂钩连接片上翻折设置有与电缆槽墙面贴合的固定片,通过射钉可将固定片与电缆槽固定连接。
一审裁定,被诉侵权产品,落入涉案专利权利要求1的保护范围,因其不具备权利要求3记载的“挂钩连接片为L形”的技术特征,故未落入权利要求3的保护范围。
二审程序中,被上诉人找到一篇申请日早于涉案专利申请日的对比文件,专利号为201820296480.4,名称为“一种电缆挂接装置”实用新型专利(以下简称4804号专利),被上诉人认为其实施的是现有技术,不构成侵犯涉案专利权利要求1的情形。
二审程序认可被上诉人的观点,判定其产品不侵犯涉案专利的权利要求1的权利。
从等同侵权的角度,双方还存在的争议焦点是:被诉侵权产品是否落入涉案专利权利要求3的保护范围:即被诉侵权产品的技术特征是否与涉案专利权利要求3“挂钩连接片为L形”的技术特征构成等同。
对此,高院认为,涉案专利权利要求3的挂钩连接片为L形,挂钩连接片与固定片连接后构成Z形,被诉侵权产品的固定片和挂钩连接片一体成型并共同形成L形,故被诉侵权产品技术方案与涉案专利该项技术特征不相同。
从功能和效果来看,涉案专利L形挂钩连接片的竖直面和水平面上均固定连接有线缆挂钩,实现了对电缆槽侧壁空间及中部空间的有效利用,达到了布线效率更高、线缆分布更加合理的有益技术效果。而被诉侵权产品不具有“挂钩连接片为L形”的技术特征,其挂钩连接片为I形,无法实现水平端的布线设置,其在技术手段和效果上与涉案专利存在实质性差异。
最终二审判定,被诉侵权产品的挂钩连接片与涉案专利限定的挂钩连接片的技术特征不构成等同特征。被诉侵权产品不落入涉案专利权利要求1和权利要求3的保护范围。
结合以上两个案例,我们可以得出目前等同原则适用的重要标准:即构成某被控侵权产品或者技术的技术特征基本相同、每个特征的功能基本相同、相关特征所带来的效果基本相同,才能构成等同侵权。
也就是说,在适用等同侵权的判定原则时,如果只是技术手段的等同,功能和效果不等同,不能认定构成侵权。反之仅仅是功能和效果基本相同,但技术手段不同,也不能认定为侵权。
技术手段是技术实现路径,功能和效果是技术所解决的问题和技术的进步。此处的技术手段应当是实现发明目的、效果所必须的技术手段(如结构、组分、步骤、条件或其之间的关系),而非省略后依旧能实现发明目的和效果的非必要技术手段。
实践中等同原则有两种表现方式,一是整体等同,二是技术特征逐一比对。以上由高院在近期公布的案例均采用技术特征逐一比对,判断其是否等同。
在认定技术是否构成等同侵权时,需要对权利要求的特征和保护范围加以恰当地理解,尤其应当结合说明书和实施例记载的实施方式,对其保护范围进行界定,不能夸大或者缩小其边界。
等同原则的确立是为了平衡权利人和公众利益之间的关系。一是可以避免他人通过对技术的变形,窃取权利人的创新技术和应得利益,二是可以避免权利人通过对权利要求保护范围的不当扩展,滥用诉讼权利,限制公众利益。
等同原则的适用有一定主观性和抽象性,专利代理师和诉讼代理人员对技术方案本身和权利保护边界的理解都应当有较高的水平。作为知识产权代理从业者,我们可以从相关案例和学者观点中窥得一些审判倾向、等同侵权原则适用情形和范围,从而指导我们服务创新主体的获权和确权。