提示
×
取消
确定
当前位置:首页 > 新闻资讯
水解试验新准则应注意的要点与准备
来源:辉胜农药登记代理   发布时间:2026-02-13 11:01
简述
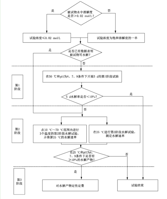
2026年3月1日, GB/T 31270.2-2025《化学农药环境安全评价试验准则第2部分:水解试验》将正式生效,2014版同期废止。对于农药研发、登记、环境评价及相关领域的从业者而言,准确把握新旧两版《准则》的差异至关重要。此外,新版准则内还增加了水解试验流程图,帮助大家更好地理解每一个试验阶段的相应流程及下一步选择,其内容如下图所示:

2026年3月1日, GB/T 31270.2-2025《化学农药环境安全评价试验准则第2部分:水解试验》将正式生效,2014版同期废止。对于农药研发、登记、环境评价及相关领域的从业者而言,准确把握新旧两版《准则》的差异至关重要。


此外,新版准则内还增加了水解试验流程图,帮助大家更好地理解每一个试验阶段的相应流程及下一步选择,其内容如下图所示:


微信图片_2026-02-13_110142_098.png